源头厂家 · 支持定制 · 降本增效 · 性价比高
一、产品概念
冷却水电解处理系统是引进国际先进的循环水处理念,开发出来的一套电化学与物理相结合的全自动处理系统传统上,采用添加化学剂进行循环冷却水处理。

二、产品简介
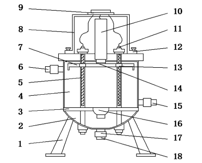
电化学水处理装置 ,英文简称:EST。电解水处理装置是针对冷却循环水系统中普遍存在的四大问题:腐蚀、结垢、菌藻污染、粘泥污染,而研制的电解过滤一体化型综合处理器,由单台设备代替了需要多台设备才能完成的处理过程,从而取代了传统的处理方式。它应用高科技技术——电解自动除垢技术与刷式扫描自清洗过滤技术。解决了目前常规综合水处理器出现的诸多问题,具有对水质综合优化处理,防垢、防腐、杀菌、灭藻、超净过滤功能,采用机电一体化设计,纯电化学方式处理,无需额外添加化学药剂,阻力小、流量大。而且运行费用极低,操作简单,维护方便,是各种循环水系统之选择。主要是由碳钢筒体、电解阳极、除垢系统、刷式扫描式自清洗机构、自动排污阀和控制系统等部分组成。
三、技术领域本实用新型涉及电化学领域,具体为一种电化学水处理设备。
四、背景技术
随着时代的发展,人们的生活水平不断地提高,目前用于工业循环冷却水处理、污水处理的电化学方法一般是通过阴阳两电极对工业循环冷却水、污水进行电解处理,在外加电流作用下:方法 1、牺牲阳极法:如电解法使阳极(阳极采用 Fe、Al)在电解时产生大量的阳离子(如 Fe 离子、Al 离子等),与氢氧根离子结合生成的 Fe(OH)2 具有絮凝、吸附和沉淀的作用,能够对被处理水中的众多杂物进行絮凝、吸附、沉淀去除;方法 2、电化学阴极保护 法:阳极采用贵金属涂层,阻止阳极牺牲,通过电解产生的化学反应,使被处理的水中需要去除的物质在专用阴极吸附、结垢析出(比如碳酸盐、重金属),通过刮垢作用使其从阴极脱落,再通过反冲洗方法把需要去除的物质排出运行系统,目前常用的电化学法去除结垢物质和含重金属水中的重金属离子的处理设备,由于电极与被处理水接触面积较小,被处理水中的结垢物质和有毒有害物质去除效果不明显,不能达到回用或者排放的标准,因此需要一种去除能力强的水处理设备,阴极在水处理过程中会吸附大量的结垢物质和重金属及其它物质,处理结束后需要清理,目前多采用人工刮掉,费时费力,因此需要一种能够快速清理电极吸附杂质的装置。
五、产品功能
电化学水处理装置处理的效果往往达不到预期效果,结果导致循环水水质恶化,频繁的投加和清洗,每年增加不少的耗材投资,系统还因投药清洗过多而使换热设备过早瘫痪,HGEST 冷却循环水电解处理系统是通过国内外对年来的实践经验,结合循环水中普遍存在的结垢、腐蚀、微生物粘泥这三大问题。从根源上进行处理,切实提高浓缩倍数,同时达到节水、节能的目的,从而取得非常显著的经济效益。电化学水处理装置本系统采用了先进的电化学水处理技术——电解除垢杀菌。该设备直接安装在循环水供水管道上,通过大电流电解,一机多能,同时实现预先除垢、缓蚀和杀菌灭藻三大功能。
六、产品原理
电化学水处理技术 的原理是利用电化学反应来改变水中的化学成分和物理性质。在电化学反应中,电流通过水中的电解质溶液,使水中的离子发生氧化还原反应,从而改变水中的化学成分和物理性质。这种反应可以使水中的有害物质被氧化分解,或者使水中的溶解物沉淀下来,从而达到净化水质的目的。电化学水处理技术主要包括电解、电沉积和电吸附等过程。其中,电解是将水中的离子分解成原子或分子的过程,可以去除水中的有害物质和溶解物。电沉积是利用电流使金属离子在电极上沉积成金属的过程,可以去除水中的重金属离子和有机物。电吸附是利用电极表面的电荷吸附水中的离子和分子的过程,可以去除水中的有机物和微生物。电化学水处理装置是主动预先除垢技术:通过电解,水中的成垢离子预先沉淀在阴极表面并被去除。电解反应室中维持一定的工作电流,在阴极(反应室内壁)附近形成高浓度的氢氧根离子,这种升高的 pH 环境让易结垢的矿物质预先结垢,并从水中析出,吸附于电解反应室内壁。在自动控制系统的控制下通过自动电动系统主动将其刮除下来并自动排出。

七、电化学水处理装置的重大创新
环 保,不使用任何化学品就能吸垢除垢、杀菌灭藻、软化水质。完全纯物理式处理,无任何污染。
高 效,真正直接有效的物理水处理方式,除垢效果直观可见。
节 能,能有效提高系统 5~25%综合效能,节约能耗 5~25%。
节 水,能大幅度降低排污水量,比目前行业水处理方式节水超过 90%以上。
智 能,全天候无人值守,管理方便简单,可随水质变化自适应调节。
方 便,该产品采用旁路安装,无须对用户管路进行任何更改,使用极为方便。
实力雄厚strength
经验丰富experience
质量保障quality
服务无忧service
17303830086
扫一扫 关注我们